HSS 10

ø100 cm
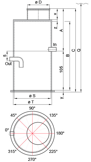
Der Schlammsammler ist aus korrosionsbeständigem Polyethylen gefertigt und 100% wasserdicht. Der Auslauf- sowie alle Einlaufstutzen werden nach Wunsch angeschweisst.

Dimensionierung

l/s
cm
[A] ab Schachtdeckel
[D]
cm
[x]
[Q]

 
Der Zufluss muss grösser als 0 sein.
cm
cm
[S]
cm
[B]
cm
[C]

Massbild


Alle Berechnungen wenn möglich gemäss SN 592 000 Empfehlung Schweiz

Änderungen vorbehalten

aktuelle Transaktion: reoy80 (zurücksetzen)

Häny AG • Buechstr. 20 • CH-8645 Jona • Tel. +41 44 925 41 11 • Fax +41 44 923 38 44 • info(at)haeny.com